JEE Laws of Motion PYQs
JEE Laws of Motion PYQs are an important part of the JEE Physics syllabus. These questions help you understand how well you know the basic ideas of this chapter, such as Newton’s laws of motion, force, inertia, friction, tension, normal reaction, and connected body problems.
In the exam, laws of motion questions can come as direct numerical sums or as concept-based problems. The good thing is that this chapter becomes much easier when your basics are strong. Once you understand the concepts clearly and know which formula to use, solving questions feels much more manageable. You do not need to think of this chapter as too difficult. With regular practice and careful solving, you can score well in it.
In this blog, you will get a simple formula PDF, a section for important JEE Laws of Motion PYQs in download format, a few practice questions with answers, and some extra questions to solve on your own. You will also learn about common mistakes students often make and a few easy tips to save time in the exam.
JEE Laws of Motion Important PYQs PDF
This PDF can include the most important previous year questions from laws of motion. It may cover topics like Newton’s first, second, and third laws, friction, tension, normal force, pseudo force, inclined plane, pulley systems, and motion of connected bodies.
Practicing these questions will help you understand the kind of problems asked in JEE. It will also improve your speed, accuracy, and confidence before the exam.
Important Formulas for JEE Laws of Motion PYQs
You only need a few important formulas to solve most laws of motion questions in JEE. These formulas help you calculate force, acceleration, friction, momentum, and other values used in this chapter.
You can download the full formula PDF from the link above. Here is a quick look at some of the main formulas:
Concept | Formula |
Newton’s Second Law | F = ma |
Weight of a Body | W = mg |
Momentum | p = mv |
Force in Terms of Momentum | F = dp/dt |
Static Friction | fₛ ≤ μₛN |
Limiting Friction | fₛ(max) = μₛN |
Kinetic Friction | fₖ = μₖN |
Normal Reaction on Inclined Plane | N = mg cos θ |
Force Along Inclined Plane | mg sin θ |
Action and Reaction | Equal in magnitude and opposite in direction |
These formulas are commonly used in questions based on force, friction, tension, inclined planes, and connected bodies. If you revise them well, many JEE questions become easier to solve.
Top 5 Common Mistakes to Avoid in JEE Laws of Motion PYQs
Many students feel that this chapter is difficult, but most of the time the problem is not the chapter itself. It is the small mistakes made while solving. Here are some common mistakes you should avoid:
Drawing the wrong free body diagram
In laws of motion questions, the free body diagram is one of the most important steps. If the forces are shown incorrectly, the whole solution can go wrong.
Confusing static friction and kinetic friction
Static friction acts when the body is not sliding, while kinetic friction acts when the body is moving. Many students mix them up and use the wrong formula.
Ignoring the direction of acceleration
Force and acceleration are vector quantities. If you choose the wrong direction while making equations, the final answer may become wrong.
Forgetting to resolve forces on an inclined plane
On an inclined plane, weight must be divided into components. Many students forget this step and use mg directly in the wrong direction.
Not checking units carefully
Always use proper SI units like newton, kilogram, metre, and second. Even when the method is correct, a unit mistake can lead to a wrong answer.
List of JEE Laws of Motion PYQs
Here is a short set of JEE-style laws of motion questions for practice. These cover common question types from force, acceleration, friction, and pulley systems. Solving them regularly can help you become faster and more confident.
Question 1
A 4 kg mass moves under the influence of a force $$\overrightarrow{F}=\left(4t^{3}\widehat{i}-3t\widehat{j}\right)N$$ where t is the time in second. If mass starts from origin at t= 0, the velocity and position after t= 2 s will be:
correct answer:- 1
Question 2
In the given figure, the blocks A, B and C weigh 4 kg, 6 kg and 8 kg, respectively. The coefficient of sliding friction between any two surfaces is 0.5. The force F required to slide the block C with constant speed is __ N. (Use $$g=10m/s^{2}$$)

correct answer:- 210
Question 3
A flexible chain of mass m hangs between two fixed points at the same level. The inclination of the chain with the horizontal at the two points of support is $$30^{\circ}$$. Considering the equilibrium of each half of the chain, the tension of the chain at the lowest point is __________.
correct answer:- 4
Question 4
A particle of mass m falls from rest through a resistive medium having resistive force, F = -kv, where v is the velocity of the particle and k is a constant. Which of the following graphs represents velocity (v) versus time (t)?
correct answer:- 4
Question 5
A block of mass 5 kg is moving on an inclined plane which makes an angle of 30° with the horizontal. Friction coefficient between the block and inclined plane surface is $$\frac{\sqrt{3}}{2}$$. The force to be applied on the block so that the block will move down without acceleration is _______N
$$(g=10m/s^{2})$$
correct answer:- 2
Question 6
A body of mass 14 kg initially at rest explodes and breaks into three fragments of masses in the ratio 2 : 2 : 3. The two pieces of equal masses fly off perpendicular to each other with a speed of 18 m/s each. The velocity of the heavier fragment is ______m/s.
correct answer:- 1
Question 7
A small block of mass m slides down from the top of a frictionless inclined surface, while the inclined plane is moving towards left with constant acceleration $$a_{0}$$. The angle between U1e inclined plane and ground is O and its base length is L. Assuming that initially the small block is at the top of the inclined plane, the time it takes to reach the lowest point of the inclined plane is ___ .

correct answer:- 1
Question 8
A massless spring gets elongated by amount $$x_{1}$$ under a tension of 5 N . Its elongation is $$x_{2}$$ under the tension of 7 N . For the elongation of $$(5x_{1}-2x_{2})$$,the tension in the spring will be,
correct answer:- 3
Question 9

$$\text{A string of length } L \text{ is fixed at one end and carries a mass of } M\text{ at the other end. }\text{The mass makes } \left(\frac{3}{\pi}\right)\text{ rotations per second about the vertical axis passing through end of the string as shown. }\text{The tension in the string is } \underline{\hspace{2cm}} ML.$$
correct answer:- 36
Question 10
Two cars P and Q are moving on a road in the same direction. Accleration of car P increases linearly with
time whereas car Q moves with a constant accleration. Both cars cross each other at time t=0, for the first
time. The maximum possible number of crossing(s) (including the crossing at t=0) is ________.
correct answer:- 3
Question 11
A wooden block, initially at rest on the ground, is pushed by a force which increases linearly with time t. Which of the following curve best describes acceleration of the block with time:
correct answer:- 4
Question 12
Two forces $$\vec{F_1}$$ and $$\vec{F_2}$$ are acting on a body. One force has magnitude thrice that of the other force and the resultant of the two forces is equal to the force of larger magnitude. The angle between $$\vec{F_1}$$ and $$\vec{F_2}$$ is $$\cos^{-1}\left(\frac{1}{n}\right)$$. The value of |n| is _____.
correct answer:- 6
Question 13
A balloon and its content having mass $$M$$ is moving up with an acceleration 'a'. The mass that must be released from the content so that the balloon starts moving up with an acceleration '3a' will be (Take ' g ' as acceleration due to gravity)
correct answer:- 1
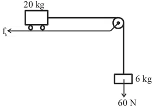
Question 14
Consider a block and trolley system as shown in figure. If the coefficient of kinetic friction between the trolley and the surface is $$0.04$$, the acceleration of the system in m s$$^{-2}$$ is: (Consider that the string is massless and unstretchable and the pulley is also massless and frictionless):

correct answer:- 3
Question 15
A ball of mass $$0.5$$ kg is attached to a string of length $$50$$ cm. The ball is rotated on a horizontal circular path about its vertical axis. The maximum tension that the string can bear is $$400$$ N. The maximum possible value of angular velocity of the ball in rad s$$^{-1}$$ is :
correct answer:- 2
Question 16
The identical spheres each of mass $$2M$$ are placed at the corners of a right angled triangle with mutually perpendicular sides equal to $$4$$ m each. Taking point of intersection of these two sides as origin, the magnitude of position vector of the centre of mass of the system is $$\frac{4\sqrt{2}}{x}$$, where the value of $$x$$ is ________.
correct answer:- 3
Question 17
A cricket player catches a ball of mass 120 g moving with $$25 \text{ m s}^{-1}$$ speed. If the catching process is completed in 0.1 s then the magnitude of force exerted by the ball on the hand of player will be (in SI unit):
correct answer:- 4
Question 18
A body of mass 4 kg experiences two forces $$\vec{F_1} = 5\hat{i} + 8\hat{j} + 7\hat{k}$$ and $$\vec{F_2} = 3\hat{i} - 4\hat{j} - 3\hat{k}$$. The acceleration acting on the body is:
correct answer:- 3
Question 19
A train is moving with a speed of $$12 \text{ m s}^{-1}$$ on rails which are $$1.5$$ m apart. To negotiate a curve radius $$400$$ m, the height by which the outer rail should be raised with respect to the inner rail is (Given, $$g = 10 \text{ m s}^{-2}$$):
correct answer:- 2
Question 20
A body of mass $$1000$$ kg is moving horizontally with a velocity $$6 \text{ m s}^{-1}$$. If $$200$$ kg extra mass is added, the final velocity (in $$\text{m s}^{-1}$$) is:
correct answer:- 4
Question 21
Given below are two statements :
Statement (I) : The limiting force of static friction depends on the area of contact and independent of materials.
Statement (II) : The limiting force of kinetic friction is independent of the area of contact and depends on materials.
In the light of the above statements, choose the most appropriate answer from the options given below :
correct answer:- 2
Question 22
If the radius of curvature of the path of two particles of same mass are in the ratio $$3 : 4$$, then in order to have constant centripetal force, their velocities will be in the ratio of:
correct answer:- 1
Question 23
A block of mass $$100$$ kg slides over a distance of $$10$$ m on a horizontal surface. If the co-efficient of friction between the surfaces is $$0.4$$, then the work done against friction (in J) is:
correct answer:- 3
Question 24
A stone of mass $$900$$ g is tied to a string and moved in a vertical circle of radius $$1$$ m making $$10$$ rpm. The tension in the string, when the stone is at the lowest point is (if $$\pi^2 = 9.8$$ and $$g = 9.8 \text{ m s}^{-2}$$)
correct answer:- 2
Question 25
All surfaces shown in figure are assumed to be frictionless and the pulleys and the string are light. The acceleration of the block of mass $$2 \text{ kg}$$ is

correct answer:- 2
Question 26
A spherical body of mass $$100 \text{ g}$$ is dropped from a height of $$10 \text{ m}$$ from the ground. After hitting the ground, the body rebounds to a height of $$5 \text{ m}$$. The impulse of force imparted by the ground to the body is given by: (given $$g = 9.8 \text{ m s}^{-2}$$)
correct answer:- 4
Question 27
Three blocks $$A$$, $$B$$ and $$C$$ are pulled on a horizontal smooth surface by a force of 80 N as shown in figure. The tensions $$T_1$$ and $$T_2$$ in the string are respectively:

correct answer:- 1
Question 28
A block of mass $$m$$ is placed on a surface having vertical cross section given by $$y = \frac{x^2}{4}$$. If coefficient of friction is 0.5, the maximum height above the ground at which block can be placed without slipping is:
correct answer:- 1
Question 29
In the given arrangement of a doubly inclined plane two blocks of masses $$M$$ and $$m$$ are placed. The blocks are connected by a light string passing over an ideal pulley as shown. The coefficient of friction between the surface of the plane and the blocks is $$0.25$$. The value of $$m$$, for which $$M = 10$$ kg will move down with an acceleration of $$2 \text{ m s}^{-2}$$, is: (take $$g = 10 \text{ m s}^{-2}$$ and $$\tan 37° = \frac{3}{4}$$)

correct answer:- 2
Question 30
A coin is placed on a disc. The coefficient of friction between the coin and the disc is $$\mu$$. If the distance of the coin from the center of the disc is $$r$$, the maximum angular velocity which can be given to the disc, so that the coin does not slip away, is :
correct answer:- 3
Question 31
A light string passing over a smooth light fixed pulley connects two blocks of masses $$m_1$$ and $$m_2$$. If the acceleration of the system is $$\frac{g}{8}$$, then the ratio of masses is

correct answer:- 1
Question 32
A block of mass 5 kg is placed on a rough inclined surface as shown in the figure. If $$\vec{F_1}$$ is the force required to just move the block up the inclined plane and $$\vec{F_2}$$ is the force required to just prevent the block from sliding down, then the value of $$|\vec{F_1}| - |\vec{F_2}|$$ is: [Use $$g = 10$$ m s$$^{-2}$$]

correct answer:- 2
Question 33
Two blocks of mass 2 kg and 4 kg are connected by a metal wire going over a smooth pulley as shown in figure. The radius of wire is $$4.0 \times 10^{-5}$$ m and Young's modulus of the metal is $$2.0 \times 10^{11}$$ N m$$^{-2}$$. The longitudinal strain developed in the wire is $$\frac{1}{\alpha\pi}$$. The value of $$\alpha$$ is [Use $$g = 10$$ m s$$^{-2}$$]

correct answer:- 12
Question 34
A $$2$$ kg brick begins to slide over a surface which is inclined at an angle of $$45°$$ with respect to horizontal axis. The co-efficient of static friction between their surfaces is:
correct answer:- 4
Question 35
A particle moves in $$x - y$$ plane under the influence of a force $$\vec{F}$$ such that its linear momentum is $$\vec{p}(t) = \hat{i} \cos(kt) - \hat{j} \sin(kt)$$. If $$k$$ is constant, the angle between $$\vec{F}$$ and $$\vec{p}$$ will be :
correct answer:- 3
Question 36
A heavy box of mass $$50$$ kg is moving on a horizontal surface. If co-efficient of kinetic friction between the box and horizontal surface is 0.3 then force of kinetic friction is :
correct answer:- 2
Question 37
A wooden block of mass $$5 \text{ kg}$$ rests on a soft horizontal floor. When an iron cylinder of mass $$25 \text{ kg}$$ is placed on the top of the block, the floor yields and the block and the cylinder together go down with an acceleration of $$0.1 \text{ ms}^{-2}$$. The action force of the system on the floor is equal to:
correct answer:- 2
Question 38
Three blocks $$M_1, M_2, M_3$$ having masses $$4 \text{ kg}, 6 \text{ kg}$$ and $$10 \text{ kg}$$ respectively are hanging from a smooth pulley using rope 1, 2 and 3 as shown in figure. The tension in the rope 1, $$T_1$$ when they are moving upward with acceleration of $$2 \text{ ms}^{-2}$$ is ______ N (if $$g = 10 \text{ m/s}^2$$).

correct answer:- 240
Question 39
In the experiment to determine the galvanometer resistance by half-deflection method, the plot of $$1/\theta$$ vs the resistance $$(R)$$ of the resistance box is shown in the figure. The figure of merit of the galvanometer is ______ $$\times 10^{-1} \text{ A/division}$$. [The source has emf 2V]

correct answer:- 5
Question 40
A train starting from rest first accelerates uniformly up to a speed of $$80 \text{ km/h}$$ for time $$t$$, then it moves with a constant speed for time $$3t$$. The average speed of the train for this duration of journey will be (in km/h) :
correct answer:- 4
Question 41
A light string passing over a smooth light pulley connects two blocks of masses $$m_1$$ and $$m_2$$ (where $$m_2>m_1$$). If the acceleration of the system is $$\frac{g}{\sqrt{2}}$$, then the ratio of the masses $$\frac{m_1}{m_2}$$ is:
correct answer:- 2
Question 42
A body of weight $$200 \text{ N}$$ is suspended from a tree branch through a chain of mass $$10 \text{ kg}$$. The branch pulls the chain by a force equal to (if $$g = 10 \text{ m/s}^2$$) :
correct answer:- 3
Question 43
A car of $$800 \text{ kg}$$ is taking turn on a banked road of radius $$300 \text{ m}$$ and angle of banking $$30°$$. If coefficient of static friction is $$0.2$$ then the maximum speed with which car can negotiate the turn safely: $$(g = 10 \text{ m/s}^2, \sqrt{3} = 1.73)$$
correct answer:- 2
Question 44
A player caught a cricket ball of mass $$150 \text{ g}$$ moving at a speed of $$20 \text{ m/s}$$. If the catching process is completed in $$0.1 \text{ s}$$, the magnitude of force exerted by the ball on the hand of the player is:
correct answer:- 4
Question 45
A given object takes n times the time to slide down $$45°$$ rough inclined plane as it takes the time to slide down an identical perfectly smooth $$45°$$ inclined plane. The coefficient of kinetic friction between the object and the surface of inclined plane is :
correct answer:- 3
Question 46
A light unstretchable string passing over a smooth light pulley connects two blocks of masses $$m_1$$ and $$m_2$$. If the acceleration of the system is $$\frac{g}{8}$$, then the ratio of the masses $$\frac{m_2}{m_1}$$ is :
correct answer:- 4
Question 47
A $$1 \text{ kg}$$ mass is suspended from the ceiling by a rope of length $$4 \text{ m}$$. A horizontal force '$$F$$' is applied at the mid point of the rope so that the rope makes an angle of $$45°$$ with respect to the vertical axis as shown in figure.

The magnitude of $$F$$ is : (Assume that the system is in equilibrium and $$g = 10 \text{ m/s}^2$$)
correct answer:- 1
Question 48
As shown in the figure a block of mass 10 kg lying on a horizontal surface is pulled by a force F acting at an angle $$30°$$, with horizontal. For $$\mu_s = 0.25$$, the block will just start to move for the value of $$F$$: [Given $$g = 10 \text{ m} \cdot \text{s}^{-2}$$]

correct answer:- 2
Question 49
Figures (a), (b), (c) and (d) show variation of force with time




The impulse is highest in figure.
correct answer:- 2
Question 50
As per given figure, a weightless pulley $$P$$ is attached on a double inclined frictionless surface. The tension in the string (massless) will be (if $$g = 10 \text{ m s}^{-2}$$)

correct answer:- 2
Group