Sign in
Please select an account to continue using cracku.in
↓ →
Join Our JEE Preparation Group
Prep with like-minded aspirants; Get access to free daily tests and study material.
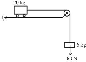
Consider a block and trolley system as shown in figure. If the coefficient of kinetic friction between the trolley and the surface is $$0.04$$, the acceleration of the system in m s$$^{-2}$$ is: (Consider that the string is massless and unstretchable and the pulley is also massless and frictionless):
Lets write equations for both the blocks
First for the 6 Kg block
$$mg-T=ma$$
$$6g-T=6a$$
Now for the 20 Kg block
now our frictional force is $$f_l=\mu\ _kN$$
$$f_l=\mu\ _kmg\ $$
$$f_l=0.04\times\ 200$$
$$f_l=8N$$
Now equation for the 20 Kg block is
$$T-f_l=ma$$
$$T-f_l=20a$$
$$6g-T=6a$$
Now ad both equations
$$60-f_l=26a$$
$$60-8=26a=52$$
$$a=2\ \frac{m}{s^2}$$
Click on the Email ☝️ to Watch the Video Solution
Create a FREE account and get:
Predict your JEE Main percentile, rank & performance in seconds
Educational materials for JEE preparation
Ask our AI anything
AI can make mistakes. Please verify important information.
AI can make mistakes. Please verify important information.