JEE (Advanced) 2025 Paper-1

Instructions

For the following questions answer them individually

JEE (Advanced) 2025 Paper-1 - Question 11


Let $$\alpha$$ and $$\beta$$ be the real numbers such that

$$\lim_{x \to 0} \frac{1}{x^3} \left( \frac{\alpha}{2} \int_0^x \frac{1}{1 - t^2}\, dt + \beta x \cos x \right) = 2.$$

Then the value of $$\alpha + \beta$$ is ________.

Backspace
789
456
123
0.-
Clear All

JEE (Advanced) 2025 Paper-1 - Question 12


Let $$\mathbb{R}$$ denote the set of all real numbers. Let $$f: \mathbb{R} \to \mathbb{R}$$ be a function such that $$f(x) > 0$$ for all $$x \in \mathbb{R}$$, and $$f(x + y) = f(x)f(y)$$ for all $$x, y \in \mathbb{R}$$.

Let the real numbers $$a_1, a_2, \ldots, a_{50}$$ be in an arithmetic progression. If $$f(a_{31}) = 64f(a_{25})$$, and

$$\sum_{i=1}^{50} f(a_i) = 3(2^{25} + 1),$$

then the value of

$$\sum_{i=6}^{30} f(a_i)$$

is ________.

Backspace
789
456
123
0.-
Clear All

JEE (Advanced) 2025 Paper-1 - Question 13


For all $$x > 0$$, let $$y_1(x)$$, $$y_2(x)$$, and $$y_3(x)$$ be the functions satisfying

$$\frac{dy_1}{dx} - (\sin x)^2\, y_1 = 0, \quad y_1(1) = 5,$$

$$\frac{dy_2}{dx} - (\cos x)^2\, y_2 = 0, \quad y_2(1) = \frac{1}{3},$$

$$\frac{dy_3}{dx} - \left(\frac{2 - x^3}{x^3}\right) y_3 = 0, \quad y_3(1) = \frac{3}{5e},$$

respectively. Then

$$\lim_{x \to 0^+} \frac{y_1(x)\, y_2(x)\, y_3(x) + 2x}{e^{3x} \sin x}$$

is equal to ________.

Backspace
789
456
123
0.-
Clear All

JEE (Advanced) 2025 Paper-1 - Question 14


Consider the following frequency distribution:

Value458961211
Frequency5$$f_1$$$$f_2$$2113

Suppose that the sum of the frequencies is 19 and the median of this frequency distribution is 6.

For the given frequency distribution, let $$\alpha$$ denote the mean deviation about the mean, $$\beta$$ denote the mean deviation about the median, and $$\sigma^2$$ denote the variance.

Match each entry in List-I to the correct entry in List-II and choose the correct option.

List-I                                                  List-II

(P) $$7f_1 + 9f_2$$ is equal to           (1) 146 

(Q) $$19\alpha$$ is equal to                     (2) 47

(R) $$19\beta$$ is equal to                    (3) 48

(S) $$19\sigma^2$$ is equal to                  (4) 145

                                                        (5) 55

JEE (Advanced) 2025 Paper-1 - Question 15


Let $$\mathbb{R}$$ denote the set of all real numbers. For a real number $$x$$, let $$[x]$$ denote the greatest integer less than or equal to $$x$$. Let $$n$$ denote a natural number.

Match each entry in List-I to the correct entry in List-II and choose the correct option.

image

JEE (Advanced) 2025 Paper-1 - Question 16


Let $$\vec{w} = \hat{i} + \hat{j} - 2\hat{k}$$, and $$\vec{u}$$ and $$\vec{v}$$ be two vectors, such that $$\vec{u} \times \vec{v} = \vec{w}$$ and $$\vec{v} \times \vec{w} = \vec{u}$$. Let $$\alpha, \beta, \gamma$$, and $$t$$ be real numbers such that

$$\vec{u} = \alpha\hat{i} + \beta\hat{j} + \gamma\hat{k}, \quad -t\alpha + \beta + \gamma = 0, \quad \alpha - t\beta + \gamma = 0, \quad \text{and} \quad \alpha + \beta - t\gamma = 0.$$

Match each entry in List-I to the correct entry in List-II and choose the correct option.

image

JEE (Advanced) 2025 Paper-1 - Question 17


The center of a disk of radius $$r$$ and mass $$m$$ is attached to a spring of spring constant $$k$$, inside a ring of radius $$R > r$$ as shown in the figure. The other end of the spring is attached on the periphery of the ring. Both the ring and the disk are in the same vertical plane. The disk can only roll along the inside periphery of the ring, without slipping. The spring can only be stretched or compressed along the periphery of the ring, following the Hooke's law. In equilibrium, the disk is at the bottom of the ring. Assuming small displacement of the disc, the time period of oscillation of center of mass of the disk is written as $$T = \frac{2\pi}{\omega}$$. The correct expression for $$\omega$$ is ($$g$$ is the acceleration due to gravity):

image

JEE (Advanced) 2025 Paper-1 - Question 18


In a scattering experiment, a particle of mass $$2m$$ collides with another particle of mass $$m$$, which is initially at rest. Assuming the collision to be perfectly elastic, the maximum angular deviation $$\theta$$ of the heavier particle, as shown in the figure, in radians is:

image

JEE (Advanced) 2025 Paper-1 - Question 19


A conducting square loop initially lies in the $$XZ$$ plane with its lower edge hinged along the $$X$$-axis. Only in the region $$y \geq 0$$, there is a time dependent magnetic field pointing along the $$Z$$-direction, $$\vec{B}(t) = B_0(\cos \omega t)\hat{k}$$, where $$B_0$$ is a constant. The magnetic field is zero everywhere else. At time $$t = 0$$, the loop starts rotating with constant angular speed $$\omega$$ about the $$X$$ axis in the clockwise direction as viewed from the $$+X$$ axis (as shown in the figure). Ignoring self-inductance of the loop and gravity, which of the following plots correctly represents the induced e.m.f. ($$V$$) in the loop as a function of time:

image

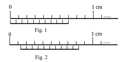
JEE (Advanced) 2025 Paper-1 - Question 20


Figure 1 shows the configuration of main scale and Vernier scale before measurement. Fig. 2 shows the configuration corresponding to the measurement of diameter $$D$$ of a tube. The measured value of $$D$$ is:

image
banner

banner
cracku

Boost your Prep!

Download App