JEE (Advanced) 2025 Paper-2

Instructions

For the following questions answer them individually

JEE (Advanced) 2025 Paper-2 - Question 11


A factory has a total of three manufacturing units, $$M_1$$, $$M_2$$, and $$M_3$$, which produce bulbs independent of each other. The units $$M_1$$, $$M_2$$, and $$M_3$$ produce bulbs in the proportions of $$2:2:1$$, respectively. It is known that $$20\%$$ of the bulbs produced in the factory are defective. It is also known that, of all the bulbs produced by $$M_1$$, $$15\%$$ are defective. Suppose that, if a randomly chosen bulb produced in the factory is found to be defective, the probability that it was produced by $$M_2$$ is $$\frac{2}{5}$$.

If a bulb is chosen randomly from the bulbs produced by $$M_3$$, then the probability that it is defective is ______.

Backspace
789
456
123
0.-
Clear All

JEE (Advanced) 2025 Paper-2 - Question 12


Consider the vectors

$$\vec{x} = \hat{i} + 2\hat{j} + 3\hat{k}$$, $$\quad \vec{y} = 2\hat{i} + 3\hat{j} + \hat{k}$$, $$\quad$$ and $$\quad \vec{z} = 3\hat{i} + \hat{j} + 2\hat{k}$$.

For two distinct positive real numbers $$\alpha$$ and $$\beta$$, define

$$\vec{X} = \alpha\vec{x} + \beta\vec{y} - \vec{z}$$, $$\quad \vec{Y} = \alpha\vec{y} + \beta\vec{z} - \vec{x}$$, $$\quad$$ and $$\quad \vec{Z} = \alpha\vec{z} + \beta\vec{x} - \vec{y}$$.

If the vectors $$\vec{X}$$, $$\vec{Y}$$, and $$\vec{Z}$$ lie in a plane, then the value of $$\alpha + \beta - 3$$ is ______.

Backspace
789
456
123
0.-
Clear All

JEE (Advanced) 2025 Paper-2 - Question 13


For a non-zero complex number $$z$$, let $$\arg(z)$$ denote the principal argument of $$z$$, with $$-\pi < \arg(z) \leq \pi$$. Let $$\omega$$ be the cube root of unity for which $$0 < \arg(\omega) < \pi$$. Let

$$\alpha = \arg\left(\sum_{n=1}^{2025}(-\omega)^n\right).$$

Then the value of $$\frac{3\alpha}{\pi}$$ is ______.

Backspace
789
456
123
0.-
Clear All

JEE (Advanced) 2025 Paper-2 - Question 14


Let $$\mathbb{R}$$ denote the set of all real numbers. Let $$f: \mathbb{R} \to \mathbb{R}$$ and $$g: \mathbb{R} \to (0, 4)$$ be functions defined by

$$f(x) = \log_e(x^2 + 2x + 4)$$, $$\quad$$ and $$\quad g(x) = \frac{4}{1 + e^{-2x}}$$.

Define the composite function $$f \circ g^{-1}$$ by $$(f \circ g^{-1})(x) = f(g^{-1}(x))$$, where $$g^{-1}$$ is the inverse of the function $$g$$.

Then the value of the derivative of the composite function $$f \circ g^{-1}$$ at $$x = 2$$ is ______.

Backspace
789
456
123
0.-
Clear All

JEE (Advanced) 2025 Paper-2 - Question 15


Let

$$\alpha = \frac{1}{\sin 60^\circ \sin 61^\circ} + \frac{1}{\sin 62^\circ \sin 63^\circ} + \cdots + \frac{1}{\sin 118^\circ \sin 119^\circ}.$$

Then the value of

$$\left(\frac{\csc 1^\circ}{\alpha}\right)^2$$

is ______.

Backspace
789
456
123
0.-
Clear All

JEE (Advanced) 2025 Paper-2 - Question 16


If

$$\alpha = \int_{\frac{1}{2}}^{2} \frac{\tan^{-1} x}{2x^2 - 3x + 2} \, dx,$$

then the value of $$\sqrt{7} \tan\left(\frac{2\alpha\sqrt{7}}{\pi}\right)$$ is ______.

(Here, the inverse trigonometric function $$\tan^{-1} x$$ assumes values in $$\left(-\frac{\pi}{2}, \frac{\pi}{2}\right)$$.)

Backspace
789
456
123
0.-
Clear All

JEE (Advanced) 2025 Paper-2 - Question 17


A temperature difference can generate e.m.f. in some materials. Let $$S$$ be the e.m.f. produced per unit temperature difference between the ends of a wire, $$\sigma$$ the electrical conductivity and $$\kappa$$ the thermal conductivity of the material of the wire. Taking $$M$$, $$L$$, $$T$$, $$I$$ and $$K$$ as dimensions of mass, length, time, current and temperature, respectively, the dimensional formula of the quantity $$Z = \frac{S^2 \sigma}{\kappa}$$ is:

JEE (Advanced) 2025 Paper-2 - Question 18


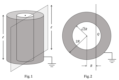
Two co-axial conducting cylinders of same length $$\ell$$ with radii $$\sqrt{2}R$$ and $$2R$$ are kept, as shown in Fig. 1. The charge on the inner cylinder is $$Q$$ and the outer cylinder is grounded. The annular region between the cylinders is filled with a material of dielectric constant $$\kappa = 5$$. Consider an imaginary plane of the same length $$\ell$$ at a distance $$R$$ from the common axis of the cylinders. This plane is parallel to the axis of the cylinders. The cross-sectional view of this arrangement is shown in Fig. 2. Ignoring edge effects, the flux of the electric field through the plane is ($$\epsilon_0$$ is the permittivity of free space):

image

JEE (Advanced) 2025 Paper-2 - Question 19


As shown in the figures, a uniform rod $$OO'$$ of length $$l$$ is hinged at the point $$O$$ and held in place vertically between two walls using two massless springs of same spring constant. The springs are connected at the midpoint and at the top-end ($$O'$$) of the rod, as shown in Fig. 1 and the rod is made to oscillate by a small angular displacement. The frequency of oscillation of the rod is $$f_1$$. On the other hand, if both the springs are connected at the midpoint of the rod, as shown in Fig. 2 and the rod is made to oscillate by a small angular displacement, then the frequency of oscillation is $$f_2$$.

Ignoring gravity and assuming motion only in the plane of the diagram, the value of $$\frac{f_1}{f_2}$$ is:

image

JEE (Advanced) 2025 Paper-2 - Question 20


Consider a star of mass $$m_2$$ kg revolving in a circular orbit around another star of mass $$m_1$$ kg with $$m_1 \gg m_2$$. The heavier star slowly acquires mass from the lighter star at a constant rate of $$\gamma$$ kg/s. In this transfer process, there is no other loss of mass. If the separation between the centers of the stars is $$r$$, then its relative rate of change $$\frac{1}{r}\frac{dr}{dt}$$ (in s$$^{-1}$$) is given by:

banner

banner
cracku

Boost your Prep!

Download App